Tank Quattro C3 Tausch - Suche Möglichkeiten
Moderatoren: Moderatoren, globale Moderatoren
Forumsregeln
Bitte vor dem Erstellen eines Postings die geltenden Forenregeln beachten. Moderatoren und der Site-Admin werden in regelmäßigen Kontrollen für die Einhaltung der Regeln sorgen.
http://forum.group44.de/viewtopic.php?f ... 1#p1242111
Bitte vor dem Erstellen eines Postings die geltenden Forenregeln beachten. Moderatoren und der Site-Admin werden in regelmäßigen Kontrollen für die Einhaltung der Regeln sorgen.
http://forum.group44.de/viewtopic.php?f ... 1#p1242111
- smuef1970
- Testfahrer

- Beiträge: 296
- Registriert: 29.08.2021, 20:09
- Fuhrpark: Audi 100 CS avant quattro KU
Audi 100 avant 4B 7 Sitzer
Tank Quattro C3 Tausch - Suche Möglichkeiten
Hallo beisammen,
das ist bei mir die nächste Baustelle für den kommenden Winter. Meiner sieht nicht gut aus. Audi 100 CS 44Q Baujahr 84
Überlege folgende Möglichkeiten:
1. Gebrauchten Tank kaufen, überholen und dann tauschen.
2. Neuen Tank von Audi Tradition
https://audi-tradition-parts.de/de_DE/p ... 4A0201075L
3. Oder einen bereits überholten kaufen. Gibts in der Bucht oder bei Kleinanzeigen.
Habe auch aussen neben dem Tank noch paar Teile hängen zwischen der Kraftstoffleitung die auch sehr vergammelt aussehen. Frage ist ob man die überholen kann ? Habe jetzt nicht mal Teilenummern rausgefunden.
Was sind Eure Erfahrungen ? Was würdet Ihr empfehlen ?
Danke.
Gruß Thomas
das ist bei mir die nächste Baustelle für den kommenden Winter. Meiner sieht nicht gut aus. Audi 100 CS 44Q Baujahr 84
Überlege folgende Möglichkeiten:
1. Gebrauchten Tank kaufen, überholen und dann tauschen.
2. Neuen Tank von Audi Tradition
https://audi-tradition-parts.de/de_DE/p ... 4A0201075L
3. Oder einen bereits überholten kaufen. Gibts in der Bucht oder bei Kleinanzeigen.
Habe auch aussen neben dem Tank noch paar Teile hängen zwischen der Kraftstoffleitung die auch sehr vergammelt aussehen. Frage ist ob man die überholen kann ? Habe jetzt nicht mal Teilenummern rausgefunden.
Was sind Eure Erfahrungen ? Was würdet Ihr empfehlen ?
Danke.
Gruß Thomas
-
yabba18
- Entwickler
- Beiträge: 770
- Registriert: 13.08.2009, 14:37
- Fuhrpark: Audi 100 Typ44 Avant Quattro Bj 1990 NF Panthero Metallic
Audi 90 Typ 89 Fronti Bj 1990 NG Tornado Rot - Wohnort: Dautphetal
- Kontaktdaten:
Re: Tank Quattro C3 Tausch - Suche Möglichkeiten
Nabend,
bei kleinanzeigen ist einer aus Extertal (nähe Paderborn) der Tank's in Tausch revidiert. Habe von ihm vor 7 Jahren für meinen NF2 Q einen Tank im Tausch bekommen, Top Arbeit und super zuverlässig!
Gruß Yannik
bei kleinanzeigen ist einer aus Extertal (nähe Paderborn) der Tank's in Tausch revidiert. Habe von ihm vor 7 Jahren für meinen NF2 Q einen Tank im Tausch bekommen, Top Arbeit und super zuverlässig!
Gruß Yannik
- smuef1970
- Testfahrer

- Beiträge: 296
- Registriert: 29.08.2021, 20:09
- Fuhrpark: Audi 100 CS avant quattro KU
Audi 100 avant 4B 7 Sitzer
Re: Tank Quattro C3 Tausch - Suche Möglichkeiten
Hallo,
ich finde in Expertal in den Kleinanzeigen niemand der Tanks revidiert.
Hier im Forum wurde mal der tank-spezialist.de genannt. Ist das der ?
Danke
Gruß Thomas
ich finde in Expertal in den Kleinanzeigen niemand der Tanks revidiert.
Hier im Forum wurde mal der tank-spezialist.de genannt. Ist das der ?
Danke
Gruß Thomas
-
yabba18
- Entwickler
- Beiträge: 770
- Registriert: 13.08.2009, 14:37
- Fuhrpark: Audi 100 Typ44 Avant Quattro Bj 1990 NF Panthero Metallic
Audi 90 Typ 89 Fronti Bj 1990 NG Tornado Rot - Wohnort: Dautphetal
- Kontaktdaten:
Re: Tank Quattro C3 Tausch - Suche Möglichkeiten
Moin Thomas,
gib mal bei kleinanzeigen "Audi 100 Aufarbeitung" ein, dann findest du ihn ganz schnell.
Gruß Yannik
gib mal bei kleinanzeigen "Audi 100 Aufarbeitung" ein, dann findest du ihn ganz schnell.
Gruß Yannik
-
Boris Ivanitsch
- Testfahrer

- Beiträge: 387
- Registriert: 24.02.2009, 22:49
- Wohnort: Werdau
Re: Tank Quattro C3 Tausch - Suche Möglichkeiten
Ziemlich viel, was an Leitungen und Anschlüssen rund um den Tank erneuert gehört findet man bei den Kollegen:
https://www.autoteile-plauen.de/
MfG
https://www.autoteile-plauen.de/
MfG
- smuef1970
- Testfahrer

- Beiträge: 296
- Registriert: 29.08.2021, 20:09
- Fuhrpark: Audi 100 CS avant quattro KU
Audi 100 avant 4B 7 Sitzer
Re: Tank Quattro C3 Tausch - Suche Möglichkeiten
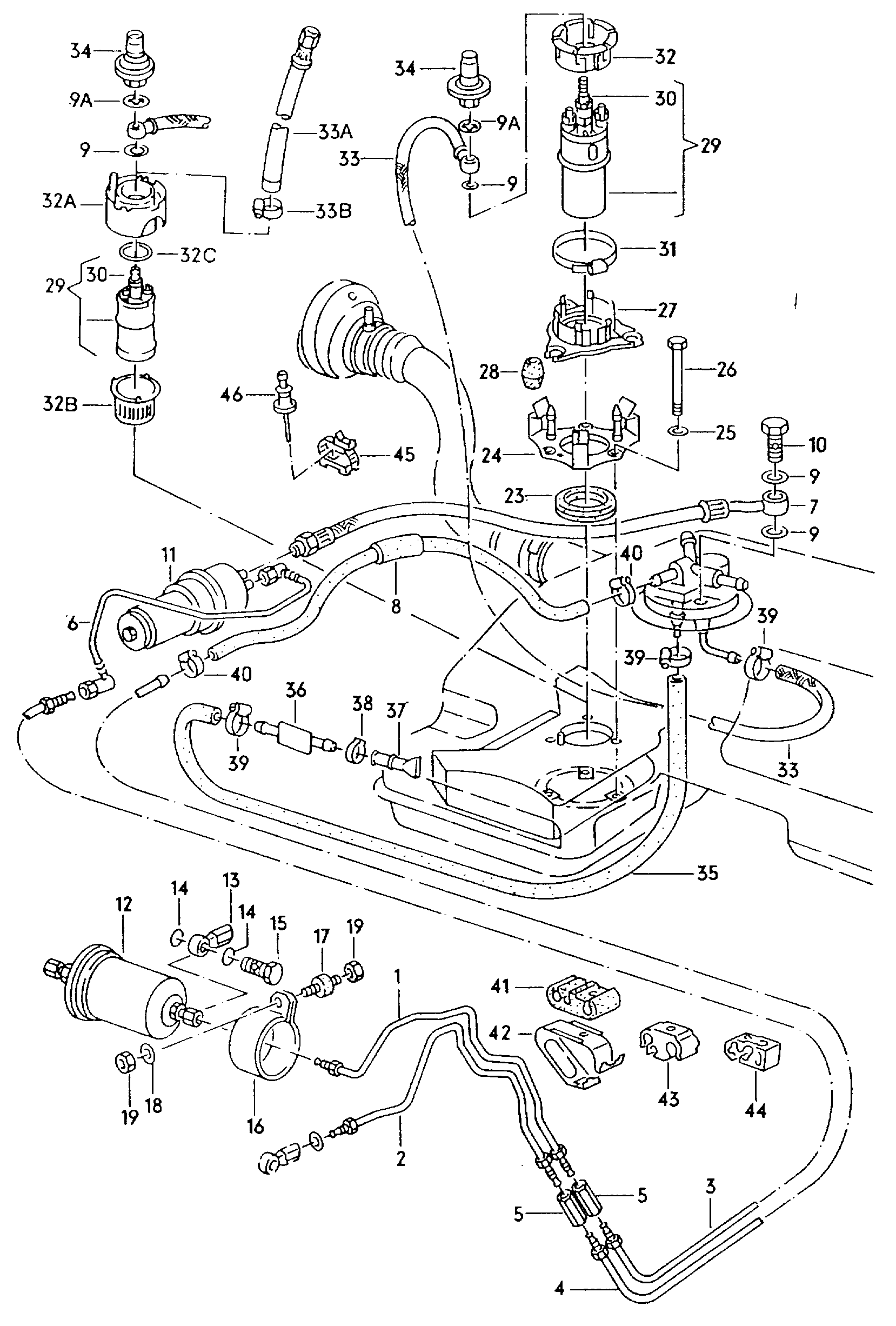
Bei mir gibt es neben dem Tank sowas in der Größe wie einen Filter. Der sieht ziemlich verrostet aus.
Finde aber im Teilekatalog nichts.
Hat dazu jemand eine Idee ?
Danke.
Gruß Thomas
Finde aber im Teilekatalog nichts.
Hat dazu jemand eine Idee ?
Danke.
Gruß Thomas
-
Quattro-Jan
- Entwickler
- Beiträge: 869
- Registriert: 13.09.2016, 14:31
- Fuhrpark: 200 20V 3B Limousine nauticblau
100er (bald mc2)Quattro Sport Limousine panthero
S2 Coupe 3B titangrau
80erCoupe NGschalter Fronti Tornado unterfolie - Wohnort: nahe Karlsruhe
Re: Tank Quattro C3 Tausch - Suche Möglichkeiten
Nabend,
Meinst du den Druckspeicher ?
Bezüglich Tanküberholung, wenn er nur aussen rostig ist würde ich es selbst machen bzw hab ich es auch selbst gemacht. Und werde es, hoffentlich noch dieses Jahr noch ein 2tes mal machen.
MfG Jan
Meinst du den Druckspeicher ?
Bezüglich Tanküberholung, wenn er nur aussen rostig ist würde ich es selbst machen bzw hab ich es auch selbst gemacht. Und werde es, hoffentlich noch dieses Jahr noch ein 2tes mal machen.
MfG Jan
- smuef1970
- Testfahrer

- Beiträge: 296
- Registriert: 29.08.2021, 20:09
- Fuhrpark: Audi 100 CS avant quattro KU
Audi 100 avant 4B 7 Sitzer
Re: Tank Quattro C3 Tausch - Suche Möglichkeiten
Ahh das könnte sein, hab was im Netz gefunden:
https://www.oldtimer-werk.de/golf-1-und ... -447133441
Muss mal vergleichen ob der passt.
Was ich komisch finde dass es bei 7zap in keinem Schema drin ist ...
Danke.
Gruß Thomas
- Fussel
- Entwicklungsleiter
- Beiträge: 1252
- Registriert: 08.11.2012, 15:53
- Fuhrpark: BMW 2002 tii (e114)
VW Käfer Cabrio (1302)
BMW 320/6 (e21)
Honda VFR400R (2x nc24)
Audi 100 Avant Quattro Sport (C3) - Wohnort: Nürnberg
Re: Tank Quattro C3 Tausch - Suche Möglichkeiten
Hallo Thomas,
Für den NF hab ich auch irgendwo eine Übersicht von Autoteile Plauen mit den Teilenummern, die zur Revidierung notwendig sind. Denn das hab ich auch noch vor mir…
Quattrogetriebene Grüße, Fussel
Doch, ist drin - unter „Kraftstoff, Abgas, Kühlung“ das zweite Schaubild „Kraftstoffspeicher, Dichtungssatz für Kraftstoffpumpe, Kraftstoffrohr“ die Nummer 11 mit der Teilenummer 447****41 für KU, MC und NF. Leider kann ich die Teilenummer nicht ganz sehen.
Für den NF hab ich auch irgendwo eine Übersicht von Autoteile Plauen mit den Teilenummern, die zur Revidierung notwendig sind. Denn das hab ich auch noch vor mir…
Quattrogetriebene Grüße, Fussel
- smuef1970
- Testfahrer

- Beiträge: 296
- Registriert: 29.08.2021, 20:09
- Fuhrpark: Audi 100 CS avant quattro KU
Audi 100 avant 4B 7 Sitzer
Re: Tank Quattro C3 Tausch - Suche Möglichkeiten
müsste 447133441 sein
- smuef1970
- Testfahrer

- Beiträge: 296
- Registriert: 29.08.2021, 20:09
- Fuhrpark: Audi 100 CS avant quattro KU
Audi 100 avant 4B 7 Sitzer
Re: Tank Quattro C3 Tausch - Suche Möglichkeiten
das sind die bosch nummern dazu
Re: Tank Quattro C3 Tausch - Suche Möglichkeiten
Ich habe meinen Tank auch letztes Jahr selbst überholt nach dem ich die Preise für neu und schlechte gebrauchte gesehen habe.
Ist keine schöne Arbeit...aber egal.
Außen war bei mir nicht viel zu tun, nur wenige stellen mit oberflächlichem Rost, die wurden beseitigt und alles mit Hammerit gestrichen.
Innen sah es ziemlich übel aus, da der Audi lange beim Vorbesitzer mit fast leerem Tank rumstand.
Also Benzinpumpe raus, den Pumpensumpf/-sockel kann man nur lösen bekommt ihn aber nicht aus dem Tank (zu min ich nicht).
Dann Tank habe ich dann mit warmen Wasser und ca. 4-5kg Citronensäure bis zum Rand befüllt, Tauchsieder rein und auf etwa 60°C gebracht, übernacht stehen gelassen und am nächsten Tag nochmal aufgeheizt.
Am 3. Tag habe ich das ganze dann mit Soda neutralisiert und mehrfach gespült.
Der Rost war komplett entfernt, wo die Säure arbeiten konnte. 2-3 kleine Stellen an der Oberseite wo Luft blasen standen habe ich noch manuell entfernt.
Nach dem der Tank gut Trocken war Nasssauger, Heißluft...
Wurde mit 2K-Epoxi-Tankversiegelung vom Tankdoc, beschichtet. Da ich mir nicht sicher war wie viel nötig ist hatte ich 4 Sets für Mopedtanks geordert, von denen ich 3 brauchte. Gemäß der Anleitung in 3-4 Durchgängen mit Schwänken und Lagern in verschiedenen Positionen über 2 Tage die Beschichtung aufgebracht. Nervig ist da wirklich der Pumpensumpf den man immer irgendwie mit fixieren muß beim Schwenken.
Dann etwa eine Woche im Freien mit mehrmaliger zusätzlicher Belüftung per Druckluft, durchtrocknen lassen.
Wieder eingebaut und seitdem ist alles i.O.
Ist keine schöne Arbeit...aber egal.
Außen war bei mir nicht viel zu tun, nur wenige stellen mit oberflächlichem Rost, die wurden beseitigt und alles mit Hammerit gestrichen.
Innen sah es ziemlich übel aus, da der Audi lange beim Vorbesitzer mit fast leerem Tank rumstand.
Also Benzinpumpe raus, den Pumpensumpf/-sockel kann man nur lösen bekommt ihn aber nicht aus dem Tank (zu min ich nicht).
Dann Tank habe ich dann mit warmen Wasser und ca. 4-5kg Citronensäure bis zum Rand befüllt, Tauchsieder rein und auf etwa 60°C gebracht, übernacht stehen gelassen und am nächsten Tag nochmal aufgeheizt.
Am 3. Tag habe ich das ganze dann mit Soda neutralisiert und mehrfach gespült.
Der Rost war komplett entfernt, wo die Säure arbeiten konnte. 2-3 kleine Stellen an der Oberseite wo Luft blasen standen habe ich noch manuell entfernt.
Nach dem der Tank gut Trocken war Nasssauger, Heißluft...
Wurde mit 2K-Epoxi-Tankversiegelung vom Tankdoc, beschichtet. Da ich mir nicht sicher war wie viel nötig ist hatte ich 4 Sets für Mopedtanks geordert, von denen ich 3 brauchte. Gemäß der Anleitung in 3-4 Durchgängen mit Schwänken und Lagern in verschiedenen Positionen über 2 Tage die Beschichtung aufgebracht. Nervig ist da wirklich der Pumpensumpf den man immer irgendwie mit fixieren muß beim Schwenken.
Dann etwa eine Woche im Freien mit mehrmaliger zusätzlicher Belüftung per Druckluft, durchtrocknen lassen.
Wieder eingebaut und seitdem ist alles i.O.
- Jürgen Ende
- Entwicklungsleiter
- Beiträge: 1755
- Registriert: 06.11.2004, 01:50
- Fuhrpark: Siehe Signatur.
- Wohnort: D-45470 Mülheim
- Kontaktdaten:
Re: Tank Quattro C3 Tausch - Suche Möglichkeiten
Ich habe meinen Q-Tank (A6Q ist der gleiche wie im Typ44) in einer Galvanik entlacken lassen und dann Innen mit 2K-Epoxyd und außen mit 2K-PVC-Pulver beschichten lassen. Der gammelt so schnell nicht mehr.
Siehe hier unter 30.04.2024:
https://audi-club-ruhr.weebly.com/audi- ... -1994.html
Siehe hier unter 30.04.2024:
https://audi-club-ruhr.weebly.com/audi- ... -1994.html
Typ44: Audi 100 2,3 Sport Avant (AG4) LPG + Sport STH (AG4) LPG + STH (AG3) - 2,1 STH (4+E)+ Typ89: Audi 90 2,3 (AG3) + 2,3 (AG4) + Typ89/8G0: Cabrio 2,8 (AG4) + 2,3 (AG4) Typ 8C: Audi 80 2,3 (AG4) + Typ F104: 2x Audi 100 1,6 (Limo) + Typ F103: Audi 60L + Typ 4A: Audi A6 2,8 Avant Quattro (AG4)
http://audi-club-ruhr.jimdo.com/
http://audi-club-ruhr.jimdo.com/
- Fussel
- Entwicklungsleiter
- Beiträge: 1252
- Registriert: 08.11.2012, 15:53
- Fuhrpark: BMW 2002 tii (e114)
VW Käfer Cabrio (1302)
BMW 320/6 (e21)
Honda VFR400R (2x nc24)
Audi 100 Avant Quattro Sport (C3) - Wohnort: Nürnberg
Re: Tank Quattro C3 Tausch - Suche Möglichkeiten
eine Frage: kann man den Pumpensumpf nicht verbaut lassen, wenn man den innen säubert? Oder geht der dann kaputt bzw. wird verbogen…?
Quattrogetriebene Grüße, Fussel
- Jürgen Ende
- Entwicklungsleiter
- Beiträge: 1755
- Registriert: 06.11.2004, 01:50
- Fuhrpark: Siehe Signatur.
- Wohnort: D-45470 Mülheim
- Kontaktdaten:
Re: Tank Quattro C3 Tausch - Suche Möglichkeiten
Bei mir ist der drin geblieben.
Typ44: Audi 100 2,3 Sport Avant (AG4) LPG + Sport STH (AG4) LPG + STH (AG3) - 2,1 STH (4+E)+ Typ89: Audi 90 2,3 (AG3) + 2,3 (AG4) + Typ89/8G0: Cabrio 2,8 (AG4) + 2,3 (AG4) Typ 8C: Audi 80 2,3 (AG4) + Typ F104: 2x Audi 100 1,6 (Limo) + Typ F103: Audi 60L + Typ 4A: Audi A6 2,8 Avant Quattro (AG4)
http://audi-club-ruhr.jimdo.com/
http://audi-club-ruhr.jimdo.com/
Re: Tank Quattro C3 Tausch - Suche Möglichkeiten
Da drunter ist aber eben auch Rost und den wollte ich los sein. Und nachher wollte ich auch wieder Beschichtung unter dem Sumpf haben.
Wenn der Sumpf drin bleibt hat man an der Stelle ein großes Fragezeichen, ist zu min meine Meinung dazu.
Wenn der Sumpf drin bleibt hat man an der Stelle ein großes Fragezeichen, ist zu min meine Meinung dazu.
- Jürgen Ende
- Entwicklungsleiter
- Beiträge: 1755
- Registriert: 06.11.2004, 01:50
- Fuhrpark: Siehe Signatur.
- Wohnort: D-45470 Mülheim
- Kontaktdaten:
Re: Tank Quattro C3 Tausch - Suche Möglichkeiten
2K-Epoxy ist recht flüssig und bildet eine dichte Schicht. So lange es nicht zu Brüchen kommt.
Typ44: Audi 100 2,3 Sport Avant (AG4) LPG + Sport STH (AG4) LPG + STH (AG3) - 2,1 STH (4+E)+ Typ89: Audi 90 2,3 (AG3) + 2,3 (AG4) + Typ89/8G0: Cabrio 2,8 (AG4) + 2,3 (AG4) Typ 8C: Audi 80 2,3 (AG4) + Typ F104: 2x Audi 100 1,6 (Limo) + Typ F103: Audi 60L + Typ 4A: Audi A6 2,8 Avant Quattro (AG4)
http://audi-club-ruhr.jimdo.com/
http://audi-club-ruhr.jimdo.com/
