elektrisches Schiebedach: Verschraubung Motoreinheit

Hier bitte Fragen, Tipps und Anregungen rund um den Originalerhalt des Typ44 einstellen.
Beispiel: Ausstattungsfragen, Fragen rund um die Instandhaltung, Teilebeschaffung, Rostvorsorge

Bitte überprüfe vor dem Erstellen Deines Postings, ob die Frage bereits in der Audi 100 und A6 Selbst-Dokumentation, der audi100.selbst-doku.de beantwortet wurde. Für fast alle häufigeren Probleme gibt es dort bereits Lösungen.

Moderatoren: Moderatoren, globale Moderatoren

Forumsregeln
Bitte vor dem Erstellen eines Postings die geltenden Forenregeln beachten. Moderatoren und der Site-Admin werden in regelmäßigen Kontrollen für die Einhaltung der Regeln sorgen.

http://forum.group44.de/viewtopic.php?f ... 1#p1242111
Antworten
Benutzeravatar
Fussel
Entwicklungsleiter
Beiträge: 1255
Registriert: 08.11.2012, 15:53
Fuhrpark: BMW 2002 tii (e114)
VW Käfer Cabrio (1302)
BMW 320/6 (e21)
Honda VFR400R (2x nc24)
Audi 100 Avant Quattro Sport (C3)
Wohnort: Nürnberg

elektrisches Schiebedach: Verschraubung Motoreinheit

Beitrag von Fussel »

Hallo zus@mmen,

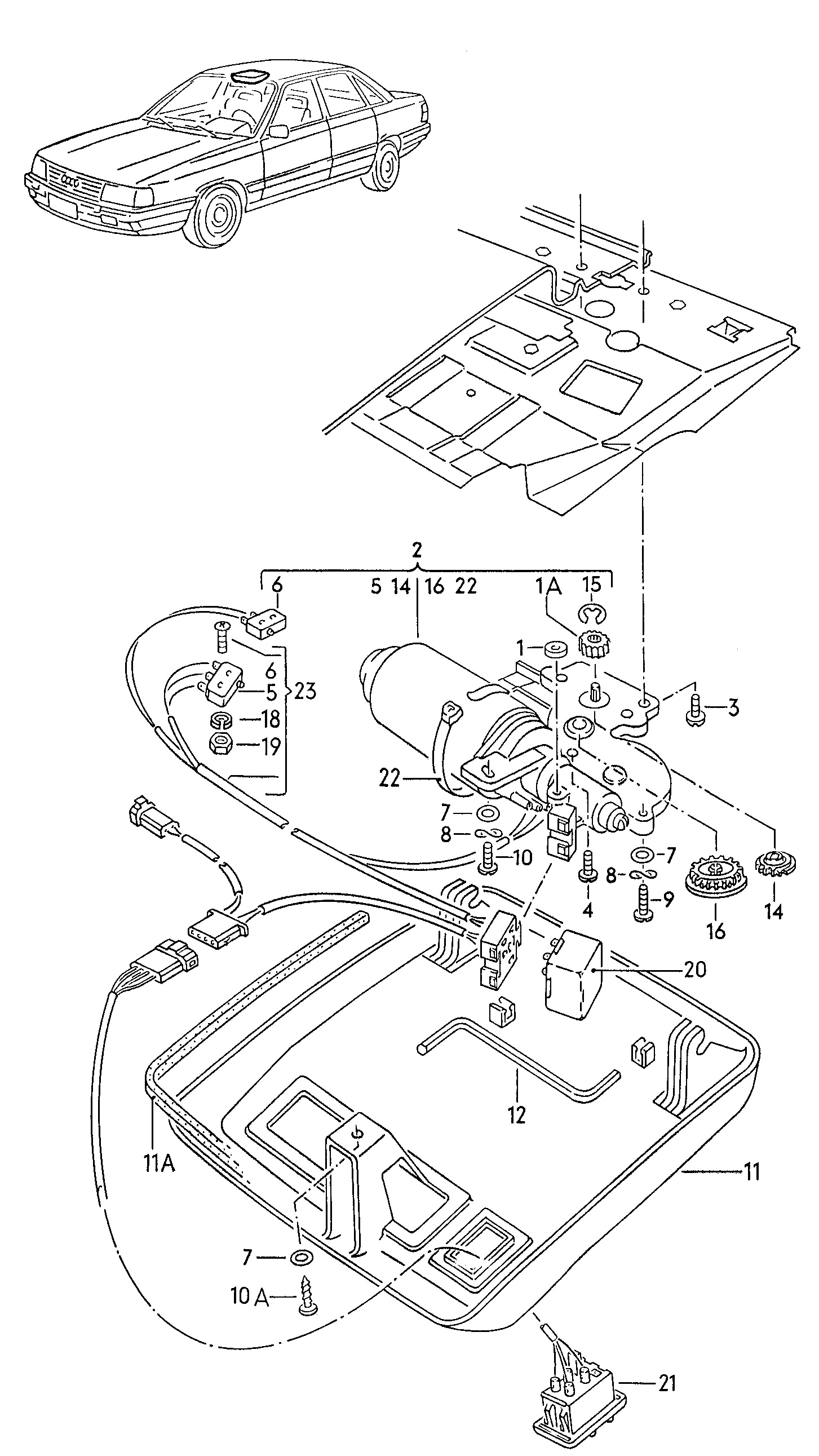
aktuell habe ich nun zwei Motoreinheiten inklusive Betätigungsschalter und Endschalter. Eine davon funktioniert auch, wäre daher bereit für den Einbau. Das Dauerplus habe ich auch schon im Himmel untergebracht. Allerdings frage ich mich, wo man anstelle der Kurbel dann die Motoreinheit festschraubt?

Hier der Auszug aus dem Teilekatalog, es sollten die Linsenschraube M4 x 6 mit der Nr 3 sein - allerdings ist diese nur 1x aufgeführt und laut Bild sollte es diese 2x geben... Wird die Einheit dann nur vorne am Ritzel verschraubt und und hinten hängt sie in der Luft? Oder wird es hinten dann noch zusätzlich mit der montierten HImmelabdeckung fixiert? Im Bild die Nummer 10: Linsenblechschraube 4,2 x 13
Elektrische Betätigung für's Schiebedach
Elektrische Betätigung für's Schiebedach
Elektrische Betätigung für Schiebedach.jpg (703.54 KiB) 5137 mal betrachtet

Hier noch ein Photol meines Avants mit mechanischer Betätigung:
Audi 100 Avant Schiebedach mechanisch
Audi 100 Avant Schiebedach mechanisch
Schiebedachhimmel Avant.jpg (535.24 KiB) 5137 mal betrachtet

Ich habe immer nach den metrischen Gewinden gesucht, aber wenn ich das nun richtig sehe, werden für die mechanische Betätigung mittels Kurbel sowie für den Elektromotor die gleichen beiden Schrauben verwendet (Im Bild mit einem Pfieil markiert). Ist das richtig? Oder gibt es da ein geändertes Innenblech am Himmel mit anderen Anschraubpunkten? Ich habe schon nach Photos im Netz gesucht, die das elektrische Schiebedach zeigen, habe allerdings keine gefunden :roll:

Quattrogetriebene Grüße,
Fussel
Benutzeravatar
StefanS
Projektleiter
Beiträge: 3114
Registriert: 06.11.2004, 15:46
Wohnort: Trier

Re: elektrisches Schiebedach: Verschraubung Motoreinheit

Beitrag von StefanS »

Hallo Fussel,
der "mechanische Antrieb" (das Teil mit den zwei roten Pfeilen zu den Befestigungsschrauben) entfällt - statt dessen wird dort der elektrische Antrieb befestigt.

Keine große Sache. Nur darauf achten, dass sich das Dach beim entfernen des mechanischen Antriebs nicht bewegt.
Die beiden Züge, die das Dach bewegen, verschieben sich sehr leicht - schon ein Zahn genügt und das Dach läuft schief bzw. öffnet/schließt nicht mehr sauber.

Gruß Stefan
Audi 100 T44 10/1987 titianrotmet 545.545km (Zwischenmodell) 2,2E 116PS
Audi 100 T44 03/1987 saphirblaumet 92.000km (Vorfacemodell) 2,2E 116PS
Audi Cabrio 08/1992 indigoperleffekt 166000km 2,3E 133PS
Audi 100 C4 04/1994 Kristallsilber 252.000km 2,3E 133PS
Audi A3 8P 06/2007 Moroblauperleffekt 160.000km 1,6 102PS
Daniel Turbo10V
Testfahrer
Testfahrer
Beiträge: 367
Registriert: 25.01.2022, 20:39
Fuhrpark: AUDI 100 Komfort 2,3E Limo MKB:NF EZ.4/90 Cheyenrotperleffekt
AUDI 200 20V Limo MKB:3B EZ. 1990 perlmuttweiß )
AUDI 200 10V Turbo Fronti Limo MKB:MC(1)EZ. 4/88 Steingraumetallic
AUDI 100 2,3E Limo
AUDI 200 10V QUATTRO Turbo(Baustelle)
Wohnort: 42551 Velbert

Re: elektrisches Schiebedach: Verschraubung Motoreinheit

Beitrag von Daniel Turbo10V »

Hallo Fussel,

bevor du den Schiebedachantrieb montierst:
1. Schiebedach mit der mechanischen Einheit auf "geschlossen" bringen.
2. Mechanische Einheit demontieren
3. Elektrische Antriebseinheit NUR mit Spannung versorgen
4. Nun einmal in beide Endlagen OHNE das Schiebedach "angekoppelt" zu haben fahren d.h. Öffnungsfunktion und Hubfunktion anfahren.Danach wieder in "geschlossen" Stellung fahren.(So prüfst du ob die Endschalter funktionieren)
5. Jetzt in der "geschlossen Stellung" der elektrischen Einheit an das Getriebe anbauen
6. VORSICHTIG PROBEFAHRT IN ALLE STELLUNGEN
7. GESCHAFFT!!! :D

Gruß Daniel
"Wer sagt das alte Autos und Motorräder fahren billig und einfach sein muss? "
Joe 10v
Entwicklungsleiter
Beiträge: 2281
Registriert: 15.03.2012, 22:27
Fuhrpark: Audi 100CS Avant Bj87 tornadorot
Audi 100CSq Limo Bj87 Flamingomet.
Wohnort: Würzburg

Re: elektrisches Schiebedach: Verschraubung Motoreinheit

Beitrag von Joe 10v »

Servus Fussel
Mechanischer Einbau war bei mir kein props :roll: :wink:
Passt plag and play
Die Elektrik beim VFL war nicht ohne, aber du hast ja NFL da isses vieleicht vorgesehen.
Hast du auch die Dachhimmel Abdeckung für den Umbau ?
Die baut höher auf......
Mfg
Benutzeravatar
Fussel
Entwicklungsleiter
Beiträge: 1255
Registriert: 08.11.2012, 15:53
Fuhrpark: BMW 2002 tii (e114)
VW Käfer Cabrio (1302)
BMW 320/6 (e21)
Honda VFR400R (2x nc24)
Audi 100 Avant Quattro Sport (C3)
Wohnort: Nürnberg

Re: elektrisches Schiebedach: Verschraubung Motoreinheit

Beitrag von Fussel »

Hallo Stefan,
StefanS hat geschrieben: 30.10.2024, 12:16 Keine große Sache. Nur darauf achten, dass sich das Dach beim entfernen des mechanischen Antriebs nicht bewegt.
Die beiden Züge, die das Dach bewegen, verschieben sich sehr leicht - schon ein Zahn genügt und das Dach läuft schief bzw. öffnet/schließt nicht mehr sauber.
Danke, das Problem kenne ich von meine BMW: nach der Lackierung passt das Schiebedach nicht mehr und läßt sich nicht mehr öffnen. Ich habe es gefühlt schon 100x aus- und wieder eingebaut. Mit und ohne Dachhimmel (weil neu bezogen), mit und ohne DIchtung und weiteren Kombinationen. Auch haben Kumpels schon gemeint, dass ich mich nicht so anstellen soll - sind dann aber auch mit mir verzweifelt...

Dann werde ich mich irgendwann mal sehr vorsichtig dran wagen... :shock: :roll:

Quattrogetriebene Grüße, Fussel
Benutzeravatar
JMS Bavaria
Crashtest-Dummy
Crashtest-Dummy
Beiträge: 94
Registriert: 10.09.2024, 16:54
Fuhrpark: Audi 200 quattro turbo Exklusiv-Ausstattung
Ford Mustang Coupé von 1968
Roush Mustang Stage 2 von 2015
Wohnort: Nähe Würzburg

Re: elektrisches Schiebedach: Verschraubung Motoreinheit

Beitrag von JMS Bavaria »

Hallo,

sorry wenn ich mich hier einklinke, aber mein elektrisches Schiebedach schließt nicht sauber und ich möchte es richtig einstellen (vom Vorbesitzer scheinbar nicht korrekt eingebaut worden).

Wenn ich deine Anleitung richtig verstanden habe, ist das Dach mit einer mechanischen Einheit in die richtige Position zu bringen und danach ist der elektrische Motor wieder einzubauen. Geht es auch ohne mechanische Einheit?

Danke auch

Daniel Turbo10V hat geschrieben: 30.10.2024, 15:29 Hallo Fussel,

bevor du den Schiebedachantrieb montierst:
1. Schiebedach mit der mechanischen Einheit auf "geschlossen" bringen.
2. Mechanische Einheit demontieren
3. Elektrische Antriebseinheit NUR mit Spannung versorgen
4. Nun einmal in beide Endlagen OHNE das Schiebedach "angekoppelt" zu haben fahren d.h. Öffnungsfunktion und Hubfunktion anfahren.Danach wieder in "geschlossen" Stellung fahren.(So prüfst du ob die Endschalter funktionieren)
5. Jetzt in der "geschlossen Stellung" der elektrischen Einheit an das Getriebe anbauen
6. VORSICHTIG PROBEFAHRT IN ALLE STELLUNGEN
7. GESCHAFFT!!! :D

Gruß Daniel
Grüße aus dem Steigerwald
Jürgen
Benutzeravatar
Fussel
Entwicklungsleiter
Beiträge: 1255
Registriert: 08.11.2012, 15:53
Fuhrpark: BMW 2002 tii (e114)
VW Käfer Cabrio (1302)
BMW 320/6 (e21)
Honda VFR400R (2x nc24)
Audi 100 Avant Quattro Sport (C3)
Wohnort: Nürnberg

Re: elektrisches Schiebedach: Verschraubung Motoreinheit

Beitrag von Fussel »

Hallo Jürgen,

Du kommst ja aus meiner Heimat - bin in den Haßbergen geboren und aufgewachsen :D
JMS Bavaria hat geschrieben: 09.11.2024, 19:25 sorry wenn ich mich hier einklinke, aber mein elektrisches Schiebedach schließt nicht sauber und ich möchte es richtig einstellen (vom Vorbesitzer
Alles gut - dafür ist das Forum doch da, dass sich jeder dran beteiligt und zusammen wird dann auch ein Schuh draus :wink:

JMS Bavaria hat geschrieben: 09.11.2024, 19:25 Geht es auch ohne mechanische Einheit?
Was meinst Du mit "ohne mechanische Einheit"? Daniel meinte damit die mechanische Kurbel, die beim Umrüsten auf den Elektroantrieb dann weggebaut wird und gegen Motor ersetzt wird.


Quattrogetriebene Grüße, Fussel

PS: Hast Du die Reparaturanleitungen von "DerSporti" schon gesehen? Da ist bestimmt auch etwas für's Schiebedach dabei... schau mal nach "Reparaturleitfaden" und "Der Sporti" - da findest Du bestimmt einiges interessantes!
Daniel Turbo10V
Testfahrer
Testfahrer
Beiträge: 367
Registriert: 25.01.2022, 20:39
Fuhrpark: AUDI 100 Komfort 2,3E Limo MKB:NF EZ.4/90 Cheyenrotperleffekt
AUDI 200 20V Limo MKB:3B EZ. 1990 perlmuttweiß )
AUDI 200 10V Turbo Fronti Limo MKB:MC(1)EZ. 4/88 Steingraumetallic
AUDI 100 2,3E Limo
AUDI 200 10V QUATTRO Turbo(Baustelle)
Wohnort: 42551 Velbert

Re: elektrisches Schiebedach: Verschraubung Motoreinheit

Beitrag von Daniel Turbo10V »

Hallo Jürgen,

wenn ich es richtig verstehe ist es schon elektrisch dein Schiebedach?

Dann versuche doch bitte folgendes:

1.Schiebedach elektrisch so schließen wie du es für TIP-TOP erachtest.
2.Antriebseinheit JETZT demontieren(vom Getriebe abnehmen)
3.Antriebseinheit ohne dem Getriebe in alle Endlagen fahren
4.Antriebseinheit auf "geschlossen" fahren
5.Jetzt wieder montieren
6.Vorsichtig in alle Endlagen fahren
7.Ich hoffe das klappt ;)

Gruß Daniel
"Wer sagt das alte Autos und Motorräder fahren billig und einfach sein muss? "
Benutzeravatar
JMS Bavaria
Crashtest-Dummy
Crashtest-Dummy
Beiträge: 94
Registriert: 10.09.2024, 16:54
Fuhrpark: Audi 200 quattro turbo Exklusiv-Ausstattung
Ford Mustang Coupé von 1968
Roush Mustang Stage 2 von 2015
Wohnort: Nähe Würzburg

Re: elektrisches Schiebedach: Verschraubung Motoreinheit

Beitrag von JMS Bavaria »

@Fussel
Danke habe es gefunden und Grüße in die Nachbarschaft :)

@ Daniel
Ja richtig, ist schon elektrisch. Und danke für die kurze Anleitung. Werde ich mir vornehmen, wenn ich die Bremsanlage und die Hydraulik überholt habe :wink: .
Grüße aus dem Steigerwald
Jürgen
Antworten