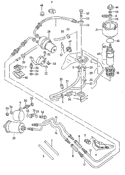
Kraftstoffschlauch Vorlauf undicht

Hier bitte Fragen, Tipps und Anregungen rund um den Originalerhalt des Typ44 einstellen.
Beispiel: Ausstattungsfragen, Fragen rund um die Instandhaltung, Teilebeschaffung, Rostvorsorge

Bitte überprüfe vor dem Erstellen Deines Postings, ob die Frage bereits in der Audi 100 und A6 Selbst-Dokumentation, der audi100.selbst-doku.de beantwortet wurde. Für fast alle häufigeren Probleme gibt es dort bereits Lösungen.

Moderatoren: Moderatoren, globale Moderatoren

Forumsregeln
Bitte vor dem Erstellen eines Postings die geltenden Forenregeln beachten. Moderatoren und der Site-Admin werden in regelmäßigen Kontrollen für die Einhaltung der Regeln sorgen.

http://forum.group44.de/viewtopic.php?f ... 1#p1242111
Antworten
Benutzeravatar
siegikid
Entwickler
Beiträge: 690
Registriert: 12.05.2005, 20:09
Fuhrpark: Audi 100 avant quattro sport tornadorot
Audi 80 avant B4 2,3
Wohnort: 41812 Erkelenz

Kraftstoffschlauch Vorlauf undicht

Beitrag von siegikid »

so, schrauben ist wieder angesagt, ist ja auch wieder Winter :shock:
o.a. Kunststoffschlauch ist defekt, der zwischen dem Druckspeicher und der langen Leitung, die nach vorn geht 443 201 218 G :(
ist natürlich eoe, hat da jemand schonmal ordentlich repariert mit Hydraulikteilen ? :?:
siegi aus erkelenz
Audi 100 avant quattro sport NF tornadorot

Motto: jeder neue Tag ist ein Tag näher an der Rente
mechfreak
Testfahrer
Testfahrer
Beiträge: 350
Registriert: 15.12.2011, 11:47
Fuhrpark: Audi 100 Heckantrieb Avant schwarz BJ87 300PS 10V Sauger 8500 U/min,Überrollkäfig,VEMS Steuergerät,1:12,5 Kompression,Schmiedepleuel,bearbeiteter Kopf und Kolben.5 Zúndspulen,Yamaha R1 Throttlebodies,306 grad Catcams Nockenwelle

Re: Kraftstoffschlauch Vorlauf undicht

Beitrag von mechfreak »

file-1.jpeg
Alles von Goodrige.Mehr Fotos im Beitrag Freies Bergrennen war wieder spitze.
Benutzeravatar
siegikid
Entwickler
Beiträge: 690
Registriert: 12.05.2005, 20:09
Fuhrpark: Audi 100 avant quattro sport tornadorot
Audi 80 avant B4 2,3
Wohnort: 41812 Erkelenz

Re: Kraftstoffschlauch Vorlauf undicht

Beitrag von siegikid »

schöne Arbeit, hilft mir aber nicht wirklich, meine Baustelle ist unten im Bereich der wagenheberaufnahme hi re :?
siegi aus erkelenz
Audi 100 avant quattro sport NF tornadorot

Motto: jeder neue Tag ist ein Tag näher an der Rente
jogi44q
Entwicklungsleiter
Beiträge: 1906
Registriert: 24.03.2007, 18:12

Re: Kraftstoffschlauch Vorlauf undicht

Beitrag von jogi44q »

Bei der Druckleitung nach vorn ist der Schlauch mit der Leitung verpresst.
5.jpg
Soll es wieder wie Original sein, so kommt man um den Ausbau der Leitung nicht herum, und könnte es dann neu verpressen lassen.

Ich würde das Rohr etwas kürzen, nicht sägen sondern mit Rohrschneider, eine Hydraulik-Schneidring-Verschraubung am Rohrende montieren (lassen),
[Achtung: immer unter der Vorraussetzung das es vom Durchmesser überhaupt passen könnte, da ich den Durchmesser jetzt nicht kenne]
verschraubung.jpg

und einen Schlauch mit der alten Armatur (druckspeicherseitig) neu verpressen lassen. Schlauch natürlich "etwas länger" und das 2. Ende mit passender Armatur mit Überwurfmutter rohrseitig.

Es gibt auch Reparaturlösungen mit Kunstoffleitungen
http://www.bremsleitungen-online.de/hyd ... /index.php

Bastellösung: den Schlauch etwas länger neu machen lassen, mit "offenem Ende" wie bei der Rücklaufleitung, und mit 2 Schraubschellen befestigen.
Gruß Jörg
Benutzeravatar
siegikid
Entwickler
Beiträge: 690
Registriert: 12.05.2005, 20:09
Fuhrpark: Audi 100 avant quattro sport tornadorot
Audi 80 avant B4 2,3
Wohnort: 41812 Erkelenz

Re: Kraftstoffschlauch Vorlauf undicht

Beitrag von siegikid »

Das Bild in deinem Beitrag ist vom Fronti, das sieht bei mir etwas anders aus, die defekte Leitung ist aus Kunststoff, die enden sind speziell, wovon die Druckspeicherseitige schlichtweg durchgerostet ist, anbei mal ein paar Bilder, die rostigen Klumpen an den Enden des neuen Schlauch sind die originalen Teile, den Kleinen mußte ich dann noch tauschen, gegen einen Schlauchnippel 6 mm mit Überwurfmutter M14x1,5 90° gebogen, ist ein Normteil.
Das Verlegen der "neuen" Leitung erwies sich aber als schwierig, da der neue Winkelanschluss mehr Platz brauchte. mit n bißchen drücken und schieben ging das aber so, das alles gut unter dem Tankschutzblech passte, ohne zu scheuern, nicht das ich mir gleich die nächste Baustelle konstruiere.
Es wird jedoch angestrebt, wieder eine originale Leitung zu verbauen, wenn sich noch eine Brauchbare auftreiben läßt.
desweiteren besteht die Option, diese Leitung nachfertigen zu lassen, wir haben hier in der Nähe eine Fa., die Kraftstoffleitungen für Pkws herstellt, da sollte wohl was gehen, ich bräuchte dafür aber ein Muster, schon wegen der Anschlüsse
der vernuckelte Anschluß an der langen Kraftstoffleitung
der vernuckelte Anschluß an der langen Kraftstoffleitung
der Druckspeicher
der Druckspeicher
der Anschluß zum Druckspeicher (durchgerostet)
der Anschluß zum Druckspeicher (durchgerostet)
der Anschluß zum vernuckelten Rest, im Prinzip wie Verbindung Bremsleitung/-schlauch
der Anschluß zum vernuckelten Rest, im Prinzip wie Verbindung Bremsleitung/-schlauch
siegi aus erkelenz
Audi 100 avant quattro sport NF tornadorot

Motto: jeder neue Tag ist ein Tag näher an der Rente
trimmi92

Re: Kraftstoffschlauch Vorlauf undicht

Beitrag von trimmi92 »

Ich kann alle Leitungen nachbauen gar kein Problem egal ob Benzin, Öl oder Bremsleitungen
isar12
Entwickler
Beiträge: 643
Registriert: 02.05.2007, 12:21
Wohnort: Oberbayern

Re: Kraftstoffschlauch Vorlauf undicht

Beitrag von isar12 »

trimmi, da hätte ich Interesse!

kannst du mir das auf "Zuruf" machen oder brauchst du meine alte Leitung?

Ersteres wäre viel besser weil sonst die Karre bis auf weiteres ausser Gefecht wäre.

Habe genau dieses Problem, beide Leitungen die an den Druckspeicher gehen. Das geht niemals zu lösen so dass man auch nur irgendwas davon wiederverwenden könnte. Druckspeicher hab ich bereits.

Servus
Rudi
Wartung statt Schutzbrief!
Audi 100 Avant Turbo Quattro (1986)
Im Sommer ist es meist zu heiß um das zu tun wozu es im Winter zu kalt ist
Benutzeravatar
siegikid
Entwickler
Beiträge: 690
Registriert: 12.05.2005, 20:09
Fuhrpark: Audi 100 avant quattro sport tornadorot
Audi 80 avant B4 2,3
Wohnort: 41812 Erkelenz

Re: Kraftstoffschlauch Vorlauf undicht

Beitrag von siegikid »

ich schliesse mich natürlich an, bei dem Angebot
siegi aus erkelenz
Audi 100 avant quattro sport NF tornadorot

Motto: jeder neue Tag ist ein Tag näher an der Rente
gusa
Testfahrer
Testfahrer
Beiträge: 392
Registriert: 30.12.2007, 15:47

Re: Kraftstoffschlauch Vorlauf undicht

Beitrag von gusa »

Hi!

Gibt es ein Update zu dem Kraftstoffschlauch? Schon wer nachbauen lassen? Preis?

Bei mir ist der Tausch der Leitungen auch schon lange überfällig - und von dem kleinen Schlauch ist nicht mehr viel übrig.

Habe hier eine interessante Seite gefunden: klick
Da bekommt man die lange Vorlauf-Leitung vom Tank weg fertig konfektioniert - und zu einem sehr interessanten Preis. Des weiteren alle Teile für den Nachbau der Rohre am Fahrzeugboden.
Die würden auch jede andere Leitung nachbauen - also wenn wer die genauen abmessungen und Anschlüsse von dem kleine Stück hat ...

Grüße,
martin
Audi 100 turbo quattro (MC2), Bj.1990, Limo
gabi
Testfahrer
Testfahrer
Beiträge: 164
Registriert: 15.03.2007, 23:21
Fuhrpark: .
Audi 100 C3 2.3E NF 136PS MJ 1990

Re: Kraftstoffschlauch Vorlauf undicht

Beitrag von gabi »

Würde das gehen?

Benzindruckspeicher - Dieselleitung - kurzes Bremsrohr - Langmutter - langes Bremsrohr - vorhandene Langmutter

Von der Dieselleitung weiß ich: 30cm, 2x M14x1,5

Meiner ist ein Fronti NF. Der Vorlauf am Druckspeicher beginnt in einen 90°-Bogen.
-
Dateianhänge
dieselleitung.jpg
Antworten